- with Senior Company Executives, HR and Finance and Tax Executives
- with readers working within the Healthcare and Technology industries
PatentNext Summary: The development of modern medical devices increasingly includes the use of software for performing sophisticated diagnostic or treatment-related functions. In fact, the U.S. Food and Drug Administration (FDA) now defines specific categories of software-based medical devices that include "Software as a Medical Device (SaMD)" and "Software in a Medical Device (SiMD)." In a similar way, courts review patents directed to software-based medical devices across several categories, which include inventions having "particular machines" (e.g., SiMD) and inventions purely involving software only (e.g., SaMD).
Courts analyze such inventions with the same level of scrutiny as other computer-implemented inventions, where software-based medical devices having physical components (e.g., SiMD) typically fare better in terms of patent-eligibility compared to those that lack such physical components (e.g., SaMD). Nonetheless, an identification of an "improvement" to the underlying medical device or medical field, in general, can demonstrate patent-eligibility for each of these categories.
The below article provides additional details. This article forms the first part of a multi-part series.
***
The FDA Recognizes Software-Based Medical Devices
The FDA recognizes the increased importance and use of software-based medical devices. For example, in its Digital Health Innovation Action Plan (DHIAP), the FDA stated that "[f]rom mobile medical apps and fitness trackers, to software that supports the clinical decisions doctors make every day, digital technology has been driving a revolution in health care."
In addition, the FDA has predicted that software-based medical devices will continue to be brought to market, creating a need for defining and regulating such technology. For example, in its DHIAP, the FDA stated that: "[d]igital health technology has brought new market participants into the medical devices space, and those participants have brought new innovation and manufacturing processes. . Use of software and use of consumer technology also make digital health products unusually accessible across international boundaries. Because they can impact the health of millions of Americans, the U.S. public should be able to trust that these products are high-quality and do what they are supposed to do."
In view of its positions, the FDA now recognizes different categories or types of software-based medical devices. The FDA defines these as:
- Software in a Medical Device (SiMD), which is "software embedded in a medical device"
- Software as a Medical Device (SaMD), which is "software intended to be used for one or more medical purposes that perform these purposes without being part of a hardware medical device"
Below, this article explores how U.S. courts treat these categories of inventions as defined by the FDA.
Court Analysis of patents directed to Software-Based Medical Devices
The FDA categories for software-based medical devices, including SiMD and SaMD, roughly correspond to categories of software-based medical devices as considered by the courts and the United States Patent Office (USPTO), at least from the perspective of patent eligibility.
That is, SiMD based innovations typically direct to, or incorporate, "physical machines" (e.g., physical components or medical equipment) that the courts and UPSTO have repeatedly found as patent-eligible.
On the other hand, SaMD based innovations typically direct to, or incorporate, less physical aspects, such as data processing, guiding human actions, and laws of nature, which the courts and UPSTO have repeatedly found as patent-ineligible.
The below illustration summarizes this hierarchy, from a best-to-worst ordering:

Across each of these categories, however, an opportunity arises to demonstrate patent eligibility where an inventive software-based medical device is described as providing an "improvement" to an underlying computing device (e.g., underlying medical device) or otherwise improves another technology or technical field (e.g, the medical field). For a general discussion of how to patent software inventions based on an "improvement," see the related article: How to Patent Software Inventions: Show an "Improvement"
The following discussion provides examples of court decisions considering software-based medical devices across these categories. This article will explore the first two of these categories. Later articles will address the remaining categories.
1. "Particular Machines"
Examples of "particular machines", as considered by courts, include medical device technology such as cardiac monitors, infusion pumps, catheter navigation systems, biometric devices, etc. Such categories of devices tend to fall in the FDA's SiMD category software-based medical devices because they comprise physical components that embed software. And because patent claims directed to physical medical device technology typically include, or include the use of, these specialized tangible devices (i.e., "particular machines"), courts have been reluctant to find that such claims are patent-ineligible. This is because tangible devices, themselves, are not merely laws of nature, natural phenomena, or abstract ideas. In view of this, where applicable, practitioners should draft claims that focus, at least in part, on a tangible device.
For example, in Baxter Int'l, Inc. v. CareFusion Corp., the Northern District of Illinois found eligible patent claims directed to a specific device and a method of using that device. No. 1:15-cv-09986, Op. at 22, 24-25, 28-29 (N.D. Ill. May 13, 2016). In Baxter, two patents were asserted that were each directed to an "infusion pump." For example, the below figure shows an example of an infusion pump at issue (U.S. Patent 6,231,560, Fig. 1):

The first patent claimed standard "circuits" for monitoring voltage and triggering alerts upon detection of a low battery. The second patent claimed an "algorithm" for automatically controlling a level of a patient's medication. For each patent, the Baxter court found that the respective claims were "directed to a concrete and tangible form, expressly limited to specific intravenous pumps."
According to the Baxter court, this "concrete and tangible form, and discrete field of application" distinguishes the patents "from the broad, disembodied 'data collection' or 'data processing' patents held ineligible by a number of courts in recent years." Accordingly, the Baxter court held that each patent was directed to the patent-eligible subject matter.
2. Improvements to Medical Technologies
Courts have also looked to a patent's written description to determine whether a given medical device technology-based claim describes an improvement to an underlying medical device or its technical field. Showing such improvement can further demonstrate that a related claim is patent-eligible.
For example, in CardioNet, LLC v InfoBionic, the Federal Circuit considered whether claims directed to a "cardiac monitoring device" were patent-eligible. 955 F.3d 1358 (Fed. Cir. 2020).
According to the CardioNet court, the claims recited that the cardiac monitoring device "detects beat-to-beat timing of cardiac activity, detects premature ventricular beats, and determines the relevance of the beat-to-beat timing to atrial fibrillation or atrial flutter, taking into account the variability in the beat-to-beat timing caused by premature ventricular beats identified by the device's ventricular beat detector." Id.
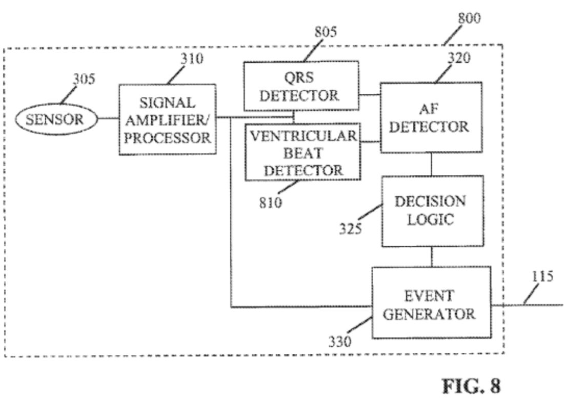
Claim 1 illustrates the medical device at issue, and is reproduced below:
1. A device, comprising:
a beat detector to identify a beat-to-beat timing of cardiac activity;
a ventricular beat detector to identify ventricular beats in the cardiac activity;
variability determination logic to determine a variability in the beat-to-beat timing of a collection of beats;
relevance determination logic to identify a relevance of the variability in the
beat-to-beat timing to at least one of atrial fibrillation and atrial flutter; and
an event generator to generate an event when the variability
in the beat-to-beat timing is identified as
relevant to the at least one of atrial fibrillation and atrial
flutter in light of the variability in the beat-to-beat
timing caused by ventricular beats identified by the
ventricular beat detector.
Figure 8 of the patent at issue, as identified by the CardioNet court, shows a schematic of the cardiac monitoring system:

The district court had found such claims ineligible because they were presumably "drawn to automating basic diagnostic processes that doctors have long used."
The CardioNet court, however, disagreed.
Instead, the CardioNet court found that the claims focused on a specific means or method that improves cardiac monitoring technology and that such claims were not merely "directed to a result or effect that itself is the abstract idea and merely invoke[d] [by] generic processes and machinery." Id. In reaching its finding, the CardioNet court referred to the written description that described an improvement to cardiac monitoring device technology, where an underlying cardiac monitoring device, using the invention, would more accurately detect the occurrence of atrial fibrillation and atrial flutter-as distinct from V-TACH and other arrhythmias-that allows for a more reliable and immediate treatment of those two medical conditions. Id. Thus, even though the cardiac monitoring device involved a computing device that monitored "data" (e.g., heartbeat data), the claims of the cardiac monitoring device fit into the class of claims that focus on "an improvement in computers [and other technologies] as tools." Id. Thus, the claims at issue were "directed to a patent-eligible improvement to cardiac monitoring technology and [were] not directed to an abstract idea." Id.
Practice tip: As provided above, claims directed to Medical Device Technology should, where applicable, be drafted to focus on the structural components and/or functional steps of a device, at least in part. If a medical device lacks such structural components, care should be taken to demonstrate how such a medical device provides an "improvement" to an underlying computing device (e.g., underlying medical device) or otherwise improves another technology or technical field (e.g, the medical field).
The content of this article is intended to provide a general guide to the subject matter. Specialist advice should be sought about your specific circumstances.